近日,中国科学院重庆绿色智能技术研究院太赫兹技术研究中心汤明杰等发明的“用于太赫兹光谱连续检测的液体样品池装置”获得国家发明专利授权。
本发明提供一种适用于太赫兹光谱连续检测的低吸收液体样品池装置。目前,国内外市场还没有成熟的、廉价的太赫兹液体样品池出售,唯一见诸报道的bruker公司生产的主要用于红外光谱检测的液体样品池A145价格不菲,且由于是石英窗口吸收性相对偏高,并需要逐个更换样品,无法满足多个样品的连续测量。
本发明以物理注塑法成型的COP塑料为原料,构建液体样品池具有低太赫兹吸收、低折射率,高透光率和可旋转换样,连续测量的优良性质,其吸收系数低于1cm?1,折射率1.5左右,透光率达到90%以上,优于现有的石英、聚乙烯等材料制备的用于太赫兹光谱检测的液体样品池。

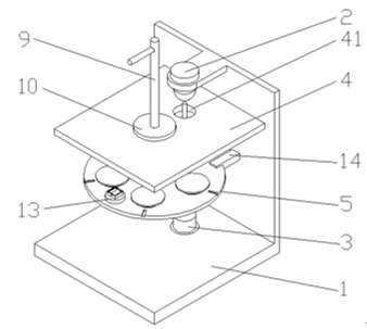
用于太赫兹光谱连续检测的液体样品池装置的立体图
