近日,成都生物研究所“一种模块化过滤装置及其使用方法和用途”获国家知识产权局发明专利。
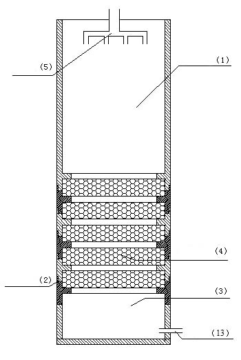
我国频发重大环境污染突发事件,尤其是重金属污染事件。一旦突发这些污染事故,对社会、经济、环境造成的危害是难以彻底恢复的。目前就重金属而言,最快速有效的应急方法为沉淀法。但是该方法却存在固液分离的难题,若不尽快将重金属沉淀从水体中分离出来,其一方面易受到水体pH的影响以致已经沉淀下来的重金属又回到水体中,另一方面若沉积到河流底泥中将面临清淤这一巨大的工程。由此可见,在重金属沉淀之后实现快速过滤是应急处理中最为关键的一步,但目前专门针对重金属沉淀的过滤装置少之又少。
成都生物所研究人员发明一种模块化过滤装置,该过滤装置可较好解决过滤速度与过滤效果的矛盾以及过滤过程中短流的问题,还可针对不同的处理对象,灵活调整过滤模块,且具有便于批量生产、拆卸、组装、运输等优点。

装置示图
